行业领先解决方案

市场营销 创新解决方案

探索我们在该领域的专业能力,为您提供最前沿的技术解决方案和无与伦比的服务体验。

500+
成功项目
98%
客户满意度
15+
年行业经验
24/7
技术支持
向下滚动

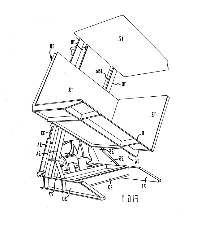
 各种生产过的托盘更换机,托盘翻转机及其方案视频和图纸等。
方便您浏览及选择一款适合自己需要的托盘翻转更换机。

项目概览与优势

深入了解我们在各个领域的专业能力和成功案例

市场营销 专业领域

托盘更换机方案

各种托盘更换机方案和客户案例。有图有视频。

SHOWCASE & NEWS

我们服务的客户

我们很荣幸为全球各地的优秀企业提供专业服务,建立了长期稳定的合作关系。以下是我们部分合作伙伴的信任之选。

200+
全球客户
50+
国家和地区
98%
客户满意度
15+
服务年限
200+
全球客户
50+
国家和地区
98%
客户满意度
15+
服务年限

准备好启动您的下一个项目了吗?

对我们的项目印象深刻?如果您有类似的需求或想探讨您的项目构想,请立即联系我们的专家团队,获取免费的初步咨询。

联系我们的专家